KSZ8863MLL, KSZ8863RLL and KSZ8863FLL Series
Integrated 10/100Base-T/TX/FX 3-port switch enables a new generation of switch systems
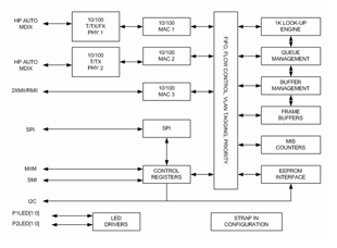
Microchip's KSZ8863MLL, KSZ8863RLL and KSZ8863FLL are highly integrated 3-port switch on a chip ICs in a small footprint, enabling a new generation of low port count, cost-sensitive and power efficient 10/100 Mbps switch systems. Low power consumption, advanced power management and sophisticated QoS features (e.g., IPv6 priority classification support) make these devices ideal for IPTV, IP-STB, VolP, media converter, automotive and industrial applications. The KSZ8863 family is designed to support the GREEN requirements in today's switch systems. Advanced power management schemes include hardware power down, software power down and the energy detect mode that shuts down the transceiver when a port is idle. KSZ8863MLL, KSZ8863RLL and KSZ8863FLL also offer the by-pass mode, which enables system-level power savings. In this mode, the processor connected to the switch through the MII interface can be shut down without impacting the normal switch operation. The devices are available in RoHS-compliant 48-pin LQFP package.
Features
- Single 2.5 V or 3.3 V supply with internal 1.8 V LDO, and optional 3.3 V, 2.5 V or 1.8 V VDDIO
- Port 1 and Port 2 by-pass mode
- Tail tag mode at Port 3
- 4-quenue (per port) traffic prioritization, based on port, 802.1p, 802.1Q VLAN tags, or Differential Services (both Ipv4 and Ipv6 priority classification)
- Source address filtering
- Internal generated RMII 50 MHz clock (KSZ8863RLL)
Applications
- IP set-top box
- IP television/IP television POF
- IP phone/video phone
- Analog telephone adapter (ATA)
- Automotive infotainment
- Industrial control
- Media converter
KSZ8863MLL-KSZ8863RLL-KSZ8863FLL series
| Afbeelding | Onderdeelnr. fabrikant | Beschrijving | Available Quantity | Prijs | ||
|---|---|---|---|---|---|---|
![]() | ![]() | KSZ8863FLL | IC ETHERNET SW 3PORT 48-LQFP | 1321 - Immediate | $5.72 | Details weergeven |
![]() | ![]() | KSZ8863MLL | IC ETHERNET SW 3PORT 48-LQFP | 835 - Immediate | $5.12 | Details weergeven |
![]() | ![]() | KSZ8863RLL | IC ETHERNET SW 3PORT 48-LQFP | 636 - Immediate | $5.12 | Details weergeven |



